| กก |
|
|
pedal siren |
|
LK-120S |
| กก |
|
PERFORMANCE
PARAMETER: |
| กก |
|
Sound
Rating: |
| 120กภ2dB(A) @1M |
|
Output
Frequency: |
| 550-650Hz |
|
Single
Tone |
|
Net
Weight: |
| 12Kg |
|
Carton
Size: |
| กก |
| กก |
| กก |
|
|
|
| กก |
| DESCRIPTION: |
|
| LK-120S is
our newly independent researched and
developed human machinery pedal siren,
Compare with other similar products ,the
LK-120S sirens have smallest volume, loudest
decibels, lightest weight, the optimal
performance and a unique folding design in
the world , Due to lightweight aluminum
alloy materials,it is convenient to carry
and move. after special process the raw
material handling.LK-120S has
explosion-proof, anti-corrosion,
anti-oxidation, anti-crack, and other
characteristics. LK-120S is made of light
weight aluminum alloy materials . It is
indispensable emergency equipment for
calamity happened and widely used in mining,
construction units, personnel-intensive
public places, government departments and
enterprises at all levels in the event of
emergency. in partcular for the Inflammable
and explosive materials, hazardous
chemicals, radioactive substances and other
dangerous goods |
|
|
| กก |
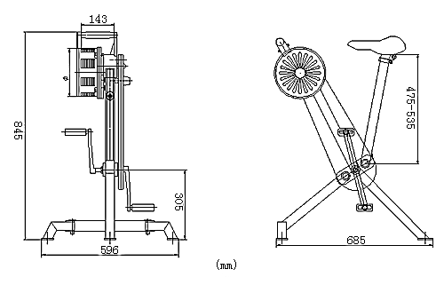
| DIMENSION: |
|
|
 |
| กก |
|
Using
method exhibition: |
|
|
|
|